Porsche запатентовала «скрытые» гоночные полосы для автомобилей
2- 12.04.2026, 15:02
Они могут появляться, менять цвет или полностью исчезать.
Компания Porsche подала патент на новую технологию, позволяющую изменять внешний вид кузова автомобиля с помощью электрического сигнала. Речь идет о специальных покрытиях — электронных чернилах или парамагнитной пленке, которые способны менять цвет при подаче напряжения, пишет Motor1 (перевод — сайт Charter97.org).
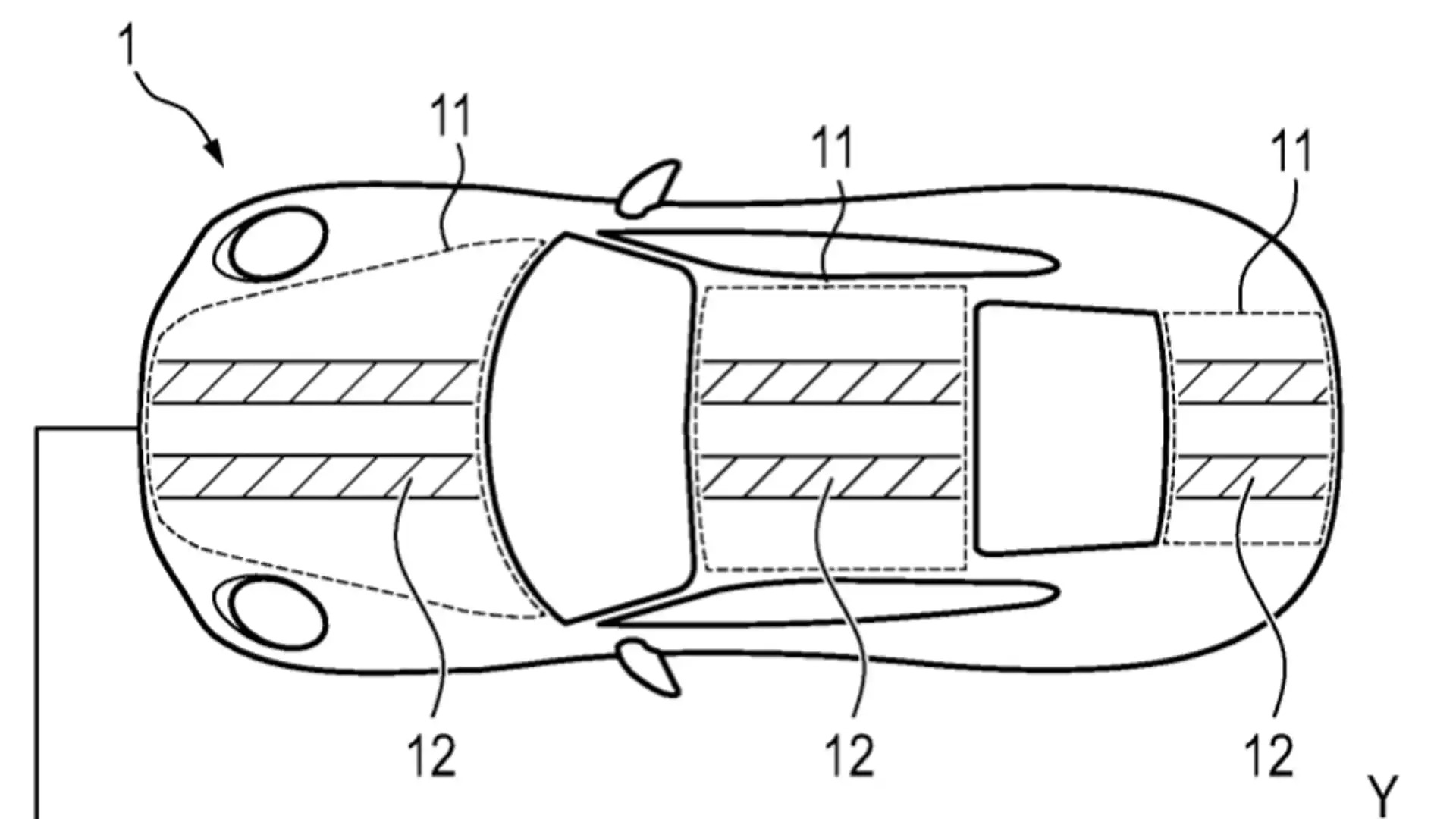
Одно из ключевых применений разработки — так называемые «скрытые» гоночные полосы. Согласно патенту, они могут появляться, менять цвет или полностью исчезать в зависимости от режима движения. Например, зеленый цвет может обозначать экономичный режим, а красный — спортивный.

Кроме того, технология может использоваться и в других элементах дизайна — например, на задних крыльях или диффузоре. Для электромобилей предусмотрена еще одна функция: отображение уровня заряда батареи прямо на кузове автомобиля.
Хотя сама идея изменения внешнего вида с помощью электричества не нова — подобные решения уже применяются, например, в электрохромных стеклах — Porsche предлагает расширить ее функциональность. В отличие от концептов, где изменение цвета носит скорее декоративный характер, новая разработка ориентирована на практическое применение.
Эксперты отмечают, что подобные технологии могут стать следующим шагом в развитии автомобильного дизайна, сочетая эстетику и информативность.