Toyota предложила решение одной из главных проблем электромобилей
7- 28.01.2026, 12:57
- 4,716
Японский автопроизводитель знает, как увеличить полезное пространство в салоне.
Toyota запатентовала новый подход к компоновке электромобилей, который может помочь увеличить полезное пространство в салоне без изменения размеров автомобиля. Речь идет не о новых батареях, а о более рациональном размещении ключевых компонентов под полом, пишет Autoblog (перевод — сайт Charter97.org).
Одна из хронических проблем электромобилей — массивные тяговые батареи, установленные под днищем. Они поднимают уровень пола, вынуждая инженеров жертвовать посадкой, пространством над головой или пропорциями кузова. Особенно остро это ощущается в компактных моделях и семейных автомобилях, где каждый сантиметр имеет значение.
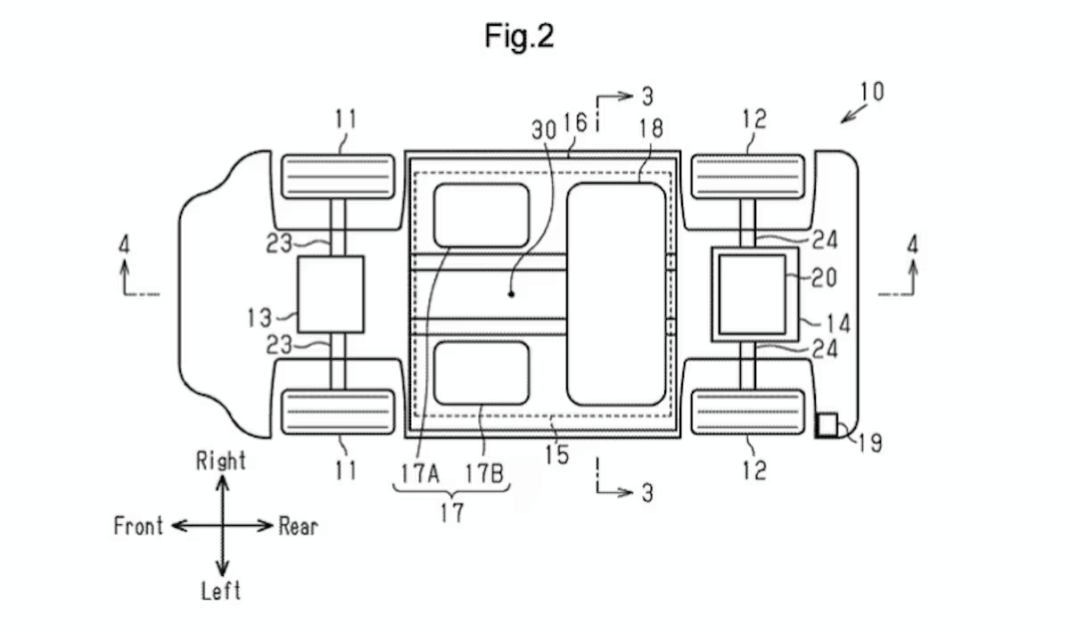
Согласно патенту, поданному в июне 2025 года в Бюро по патентам и товарным знакам США (№ 20260021715) и опубликованному на прошлой неделе, Toyota предлагает изменить саму «архитектуру» ходовой части. Вместо того чтобы располагать батарею и силовую электронику в одном толстом слое, компания предлагает распределить компоненты более равномерно.
В новой схеме аккумулятор по-прежнему размещается под полом, но блоки управления и распределения энергии переносятся так, чтобы не накапливаться в одной зоне. Батарея при этом выполняет и структурную функцию, защищая чувствительную электронику. Более короткие кабельные трассы могут также повысить эффективность системы.

Если подобное решение дойдет до серийных моделей, оно позволит опустить пол, увеличить пространство для ног и головы или сделать дизайн кузова более низким и динамичным. Для покупателей это может означать более комфортные и практичные электромобили без увеличения габаритов.
Хотя патенты не гарантируют появления технологии в производстве, разработка показывает, что Toyota ищет прагматичные способы улучшить электромобили, сосредотачиваясь на реальных потребностях водителей и пассажиров.